用晶振和数字电路产生60H脉冲
60H脉冲发生器电路图是由12为二进制串行计数器/分频器CD4040和六反相器CD4069等构成的60Hz数字钟时基电路。
电路中,CD4069的门I和门II构成震荡频率为32768Hz的晶体振荡器。其输出经CD4069的门III整形后送至CD4040的 端。CD4040的输出由二极管VD1~VD3置成分频系数为21+25+29=546,经分频后在输出端Q9上便可输出一个60Hz的时钟信号供给数字钟集成电路。
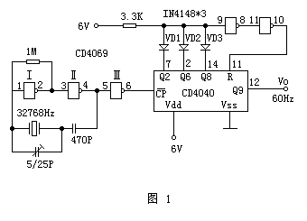
图2a是另一种60Hz脉冲发生电路。它由集成电路CD4060和谐振频率为30720Hz的晶振等元件组成。CD4060是14位二进制串行计数、分频器和振荡器。CD4060内部分为两部分,其中一部分是14级计数/分频器,其分频系数为16~16348;另一部分既可与外接电阻和电容构成RC振荡器,又可与外接晶体构成高精度的晶体振荡器。本电路采用外接30720Hz的晶振来组成晶体振荡器,其振荡信号经CD4060内部9次分频后,在Q9端输出准确的60Hz频率信号(30720÷29=60Hz)。
该电路与双阴型数字钟配用时,可采用图2b电路进行极性转换。VT1、VT2选用NPN型三极管,如9013、8050等,图中A端接正电源,B端接电源负端。该电路与双阳型数字钟配用时,VT1、VT2选用PNP型三极管,如9012、8550等,图中A端接负电源,B端接电源正端。
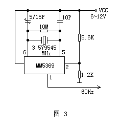
图3是用60Hz脉冲发生器专用集成电路MM5369(8脚DIP封装)和谐振频率为3.579545的晶振等元件构成的60Hz脉冲发生电路。它常用来与数字钟配套提供60Hz频率。振荡信号经MM5369内部分频处理后,从1脚输出,频率相当稳定。该电路由6~12V电源供电。电源电压低于6V时,其工作可靠性变差。特殊情况下,可将电路中R3的阻值变为100欧姆左右,可使该电路正常工作电压降到4.5V。
上述两种电路适用于负极接地的整机电路,也适用于正极接地的电路系统,设计时可变通使用。
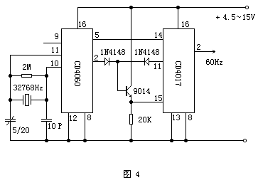
图4由两片CMOS集成电路、石英晶体构成的60Hz时钟电路。石英晶体和CD4060构成振荡、分频部分,BG1和CD4017构成计数、分配部分。在CD4060第5脚和第2脚分别输出1024Hz、4Hz的方波信号,1024Hz输入给CD4017第14脚作时钟脉冲,4Hz信号和分配给CD4017第11脚的信号组成“或门”信号再输入到CD4017第15脚作复位信号。在CD4017第2脚的1/4周期内,高电平时,CD4017复位;低电平时CD4017接收128个脉冲信号,9个脉冲信号CD4017复位一次,这样只分配给CD4017第2脚15个脉冲信号。在1秒内共分配给CD4017第2脚60个脉冲信号,从而得到实用时钟60Hz标准时基信号。、
石英振荡频率的校正,可用频率计测量CD4060第9脚应为32768Hz,若偏离可微调整可变电容加以校正。
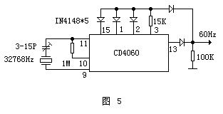
图5是由一片CD4060构成的60Hz的时基信号发生器。相对前几种是 为实用的时基信号电路。

![]() |
- [108] 问:当前中职生的就业形势怎样?
- [74] 问:2010年学校有何优惠政策?
- [64] 国家助学金顺利发放 助阳光学子成功...
- [56]入学须知
- [56]来校路线图
- [45]阳光学校特色(必读)
- [44]问:报名录取办法是怎样的?
- [25]学生生活介绍
- [11]世界冠军乐茂盛莅临我校



